½üÈÕ£¬ºþ±±Ê¡×¡½¨ÌüÐû²¼¡¶¹ØÓÚ½øÒ»²½ÓÅ»¯È«Ê¡ºâÓîÊÐÕþ¹¤³ÌÊ©¹¤Í¼ÁªºÏÉó²éÊÂÇéµÄ֪ͨ¡·¡£
1¡¢È¡ÏûͼÉó»ú¹¹åàÑ¡¡£
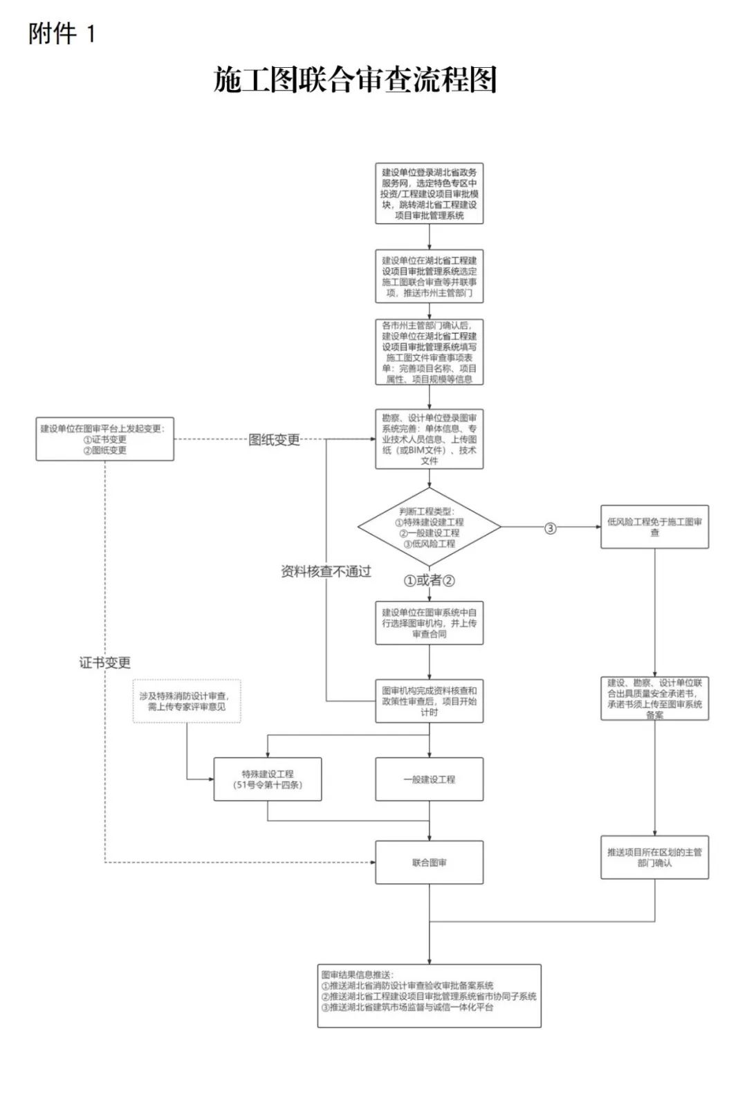
×Ô±¾Í¨ÖªÓ¡·¢Ö®ÈÕÆð£¬Í£Óá°Éó²é»ú¹¹åàÑ¡¡±¹¦Ð§Ä£¿é£¬Óɽ¨É赥λ×ÔÖ÷Ñ¡ÔñͼÉó»ú¹¹½øÐÐÊ©¹¤Í¼ÁªºÏÉó²é£¨²Ù×÷Á÷³ÌÏê¼û¸½¼þ1£©¡£
2¡¢ÍÆÐжþÉóÖÕÉóÖÆ¡£
¶Ô¶þ´Î¸´Éóȱ·¦¸ñµÄÏîÄ¿£¬Í¼Éó»ú¹¹²»ÔÙ¸´Éó£¬ÇÒÐë·¢·ÅÊ©¹¤Í¼Éó²éȱ·¦¸ñÊé¡£
3¡¢¼Ó´ó³é²éƵ´Î¡£
Ç¿»¯¶ÔÃâÉóÏîÄ¿µÄÊÂÖÐʺó¼à¹Ü£¬¸÷µØÓ¦ÔÚÏîÄ¿¿¢¹¤Ç°£¬¶ÔÃâÉóÏîÄ¿µÄ¿±²ìÉè¼ÆÎļþ½øÐгé²é¼ì²é£¬³é²é±ÈÀý²»µÃµÍÓÚ60%¡£
¸÷ÊС¢ÖÝ¡¢Ö±¹ÜÊС¢ÉñÅ©¼ÜÁÖÇø×¡£¨³Ç£©½¨¾Ö£¬¸÷Óйص¥Î»£º
ΪÀιÌÌáÉýȫʡºâÓîÊÐÕþ¹¤³ÌÊ©¹¤Í¼ÁªºÏÉó²é¸ïÐÂЧ¹û£¬½øÒ»²½ÓÅ»¯Ê©¹¤Í¼Éó²éЧÀÍ£¬¸ü¸ßЧÂÊÍÆ½øÏîÄ¿½¨É裬ÇÐʵÌá¸ßÆóÒµ»ñµÃ¸Ð¡¢ÂúÒâ¶È£¬ÏÖ¾ÍÓйØÊÂÏî֪ͨÈçÏ£º
Ò»¡¢Á¬ÐøÓÅ»¯ÓªÉÌÇé¿ö
£¨Ò»£©È¡ÏûͼÉó»ú¹¹åàÑ¡¡£¼ò»¯Ê©¹¤Í¼Éó²éÊÂÇéÁ÷³Ì£¬×Ô±¾Í¨ÖªÓ¡·¢Ö®ÈÕÆð£¬Í£Óá°Éó²é»ú¹¹åàÑ¡¡±¹¦Ð§Ä£¿é£¬Óɽ¨É赥λ×ÔÖ÷Ñ¡ÔñͼÉó»ú¹¹½øÐÐÊ©¹¤Í¼ÁªºÏÉó²é£¨²Ù×÷Á÷³ÌÏê¼û¸½¼þ1£©¡£ÒÑåàÑ¡ÍêͼÉó»ú¹¹µÄÏîĿӦ¼ÌÐøÍê³ÉͼÉóÒµÎñ¡£
£¨¶þ£©ÍêÉÆÊ©¹¤Í¼·Ö¶ÎÉó²é¡£¶Ôͬһ½¨É蹤³Ì¼Æ»®Ðí¿É֤ɿ¼°¶à¸öµ¥Ì幤³ÌµÄÏîÄ¿£¬ÔÚÏîÄ¿×ÜÌåÇкÏÄþ¾²Ìõ¼þµÄǰÌáÏ£¬¿ÉÒÔÆ¾¾Ýµ¥Ì幤³ÌÉêÇëÊ©¹¤Í¼Éè¼ÆÎļþÉó²é£¬¿ÉÒÔÔÚͼÉóϵͳÖа´µ¥Ìåµ¥¶À³ö¾ßÊ©¹¤Í¼ÁªºÏÉó²é¼°¸ñÊé¡£¶ÔÊÐÕþÃÅ·¡¢µØÏÂ×ۺϹÜÀÈ¡¢¹ìµÀ½»Í¨µÈÖØ´óÏßÐÔ¹¤³Ì£¬¿ÉÒÔ°´±ê¶Î·Ö¶ÎÖÎÀíÊ©¹¤Í¼ÁªºÏÉó²é¡£ÃãÀøÓÅ»¯ÓªÉÌÇé¿öÏÈÐÐÇøÌ½Ë÷½¨Á¢»ù¿Ó»ò×®»ù¹¤³Ì½×¶Î·Ö¶ÎÉó²é»úÖÆ¡£
£¨Èý£©Ö´ÐмƷѲο¼ÒÀ¾Ý¡£¶ÔÕþ¸®¹ºÖÃЧÀ͵ÄÊ©¹¤Í¼ÁªºÏÉó²é£¬¸÷µØÓ¦¹á³¹Ö´ÐС¶ºþ±±Ê¡ºâÓÖþºÍÊÐÕþ»ù´¡ÉèÊ©¹¤³ÌÊ©¹¤Í¼ÁªºÏÉó²é¼Æ·Ñ²Î¿¼ÒÀ¾Ý£¨ÊÔÐУ©¡·£¬·ÇÕþ¸®¹ºÖÃЧÀ͵ĿɲÎÕÕÖ´ÐС£
¶þ¡¢´óÁ¦ÌáÉýÊ©¹¤Í¼Éó²éÖÊÁ¿ºÍЧÀÍˮƽ
£¨Ò»£©ÍÆÐжþÉóÖÕÉóÖÆ¡£Í¼Éó»ú¹¹Ó¦ÔÚÊÕµ½Ê©¹¤Í¼Éè¼ÆÎļþ2¸öÊÂÇéÈÕÄÚ£¬Ò»´ÎÐÔ¼û¸æÉêÇëÈËÐèÔö²¹µÄÖÊÁÏ¡£¿±²ìÉè¼Æµ¥Î»Ó¦ÔÚ5¸öÊÂÇéÈÕÄÚ²¹ÆëÖÊÁÏ¡£Éó²éÒâ¼û·´Ïìºó£¬¿±²ìÉè¼Æµ¥Î»Ó¦ÔÚ£·¸öÊÂÇéÈÕ(BIMÏîĿΪ10¸öÊÂÇéÈÕ)ÄÚÍê³É»Ø¸´£¬Í¼Éó»ú¹¹Ó¦ÔÚ3¸öÊÂÇéÈÕÄÚÍê³É¸´Éó¡£¶Ô¶þ´Î¸´Éóȱ·¦¸ñµÄÏîÄ¿£¬Í¼Éó»ú¹¹²»ÔÙ¸´Éó£¬ÇÒÐë·¢·ÅÊ©¹¤Í¼Éó²éȱ·¦¸ñÊé¡£
£¨¶þ£©ÊµÊ©Í¼ÉóЧÀͺòîÆÀ¡£ÒÀÍкþ±±Ê¡Ê©¹¤Í¼Êý×Ö»¯ÁªºÏÉó²éϵͳ£¬½¨Éè¡¢¿±²ìÉè¼Æµ¥Î»ÔÚÍê³ÉͼÉóºó£¬´ÓÂúÒâ¶È¡¢Ê±Ð§ÐÔ¡¢×¨ÒµÐÔ¡¢Á®½à¶ÈËĸöά¶È¶ÔͼÉóЧÀÍ¿ªÕ¹ºÃ²îÆÀ´ò·Ö¡£ÏµÍ³Ê×ҳʵʱ¶¯Ì¬ÏÔʾȫʡͼÉó»ú¹¹µÄЧÀÍ´ò·ÖÇé¿ö¡£
£¨Èý£©¿ªÕ¹Í¼Éó»ú¹¹¿¼ºËÆÀ¼Û¡£ÒÀÍкþ±±Ê¡Ê©¹¤Í¼Êý×Ö»¯ÁªºÏÉó²éϵͳ£¬Ê¡¡¢ÊС¢ÏØ×¡½¨Ö÷¹Ü²¿·Öƾ¾Ý¡¶ºþ±±Ê¡Ê©¹¤Í¼Éó²é»ú¹¹¿¼ºËÆÀ¼Û²½·¥£¨ÊÔÐУ©¡·£¨¼û¸½¼þ2£©£¬Æ¾¾ÝÈÕ³£¼à¹ÜÇé¿ö¶ÔͼÉó»ú¹¹ÊµÊ©¶¯Ì¬¿¼ºËÆÀ·Ö¡£Ê¡×¡½¨ÌüÔÔòÉÏÿ°ëÄê¶ÔȫʡͼÉó»ú¹¹¿ªÕ¹Ò»´Î×ÛºÏÆÀ¼Û£¬Æ¾¾ÝÓÅÐã¡¢Á¼ºÃ¡¢Ò»°ãºÍȱ·¦¸ñËĸöµÈ´ÎÈ·¶¨»ú¹¹¿¼ÆÀ½á¹û£¬¿¼ÆÀ½á¹ûʵʱÏòÉç»áÐû²¼£¬½ÓÊÜÉç»á¼à¶½¡£¿¼ÆÀȱ·¦¸ñµÄͼÉó»ú¹¹ÐëÏÞÆÚÕû¸Ä£¬ÇÒÕûÍÑÆÚÄÚ²»µÃ³ÐÀ¿ÐµÄÒµÎñ¡£
Èý¡¢ÇÐʵÔöÇ¿ÊÂÖÐʺóÖÊÁ¿¼à¹Ü
£¨Ò»£©¼Ó´ó³é²éƵ´Î¡£¸÷µØ×¡½¨Ö÷¹Ü²¿·ÖÓ¦¼á³Ö¿±²ìÉè¼ÆÖÊÁ¿¡°Ë«Ëæ»ú¡¢Ò»¹ûÕæ¡±¼ì²éµÄ³£Ì¬»¯¡¢¹æ·¶»¯ºÍÖÆ¶È»¯ÖÎÀí£¬ÔöÇ¿Ó뽨ÖþÊг¡¡¢¹¤µØÏÖ³¡µÄÁª¶¯¼à¹Ü£¬·ÖÄê¶È¡¢¼¾¶È»®·Ö¶ÔÏ½ÇøÄÚÔÚ½¨¹¤³ÌµÄÊ©¹¤Í¼Éè¼ÆÎļþ¿ªÕ¹³é²é¡£Ç¿»¯¶ÔÃâÉóÏîÄ¿µÄÊÂÖÐʺó¼à¹Ü£¬¸÷µØÓ¦ÔÚÏîÄ¿¿¢¹¤Ç°£¬¶ÔÃâÉóÏîÄ¿µÄ¿±²ìÉè¼ÆÎļþ½øÐгé²é¼ì²é£¬³é²é±ÈÀý²»µÃµÍÓÚ60%£¬³é²éÇé¿öӦʵʱÏòÉç»áÐû²¼²¢×öºÃÕû¸ÄÂäʵ¡£
£¨¶þ£©½¡È«°ü¹Ü»úÖÆ¡£ÃãÀø¸÷µØ½áºÏÍâµØÇøÊµ¼ÊÍÆÐÐÊ©¹¤Í¼Éó²éÕþ¸®¹ºÖÃЧÀÍ¡£½øÒ»²½³ä·ÖÊ¡ÊÐÁ½¼¶¿±²ìÉè¼ÆÖÊÁ¿³é²éר¼Ò¿â£¬ÔÚºþ±±Ê¡Ê©¹¤Í¼Êý×Ö»¯ÁªºÏÉó²éϵͳÖÐʵʱ¸üÐÂר¼ÒÃûµ¥¡£Ê©¹¤Í¼ÖÊÁ¿³é²éЧÀ;·ÑÓ¦×ã¶îÄÉÈ벿·ÖÔ¤Ë㣬ÀûÓÃϵͳ¿ªÕ¹ÊÂÖÐʺóÖÊÁ¿³é²é¡£
£¨Èý£©¼á³ÖÑϹÜÖØ·£¡£Í¼Éó»ú¹¹Ó¦Ñϸñ×ñÊØÊ©¹¤Í¼ÁªºÏÉó²éÓйػ®¶¨£¬ÑϽû½ÓÄɲ»Õýµ±ÊֶζñÐÔ¾ºÕù£¬ÑϽûÉÃ×Ô¼õÉÙÉó²éÄÚÈÝ¡¢½µµÍÉó²é±ê×¼¡£¸÷µØ¶Ô·¢Ã÷µÄÎ¥·¨Î¥¹æºÍÎ¥·´Ç¿ÖÆÐÔ±ê×¼µÄÐÐΪ´ÓÑÏ¡¢´ÓÖØ¡¢¸Ï¿ì´¦Àí£¬ÇÐʵ¾ÀÕý´¦Àí´¦·ÖÖеġ°¿íËÉÈí¡±ÎÊÌâ¡£½¨Á¢½¡È«³ÏÐÅÖÎÀíÖÆ¶¨£¬ÆóÒµºÍÈËÔ±µÄ³ÏÐÅÐÅϢʵʱ¼Èë¡°ºþ±±Ê¡½¨ÖþÊг¡¼à¹ÜÒ»Ì廯ƽ̨¡±£¬ÒÀ·¨¶ÔÉç»á¹ûÕæÐû²¼¡£